详细信息

HRB轴承 011.30.710 详细参数
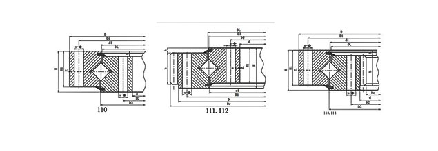
外形尺寸 |
|
---|
安装尺寸 mm |
|
---|
结构尺寸 mm |
|
---|
额定 静负荷 KN |
|
---|
轴承代号 |
|
---|
重量 Kg |
|
---|
齿轮尺寸 |
|
---|
上海海久轴承有限公司专业销售: HRB轴承 011.30.710, 011.30.710 转盘轴承产品相关信息有: 型号:011.30.710 , 内径:608mm , 外径:812mm , 厚度:80mm , 品牌:HRB轴承, 类型:转盘轴承, 需要更多的了解 HRB轴承 011.30.710 转盘轴承的相关信息,可以进行在线咨询或者拨打热线电话 ,我们会详细为您服务。
HRB轴承 011.30.710 转盘轴承使用范围很广, HRB轴承 011.30.710 转盘轴承主要应用于传输装置、工程机械、振动筛、机床、汽 车、冶金、矿山、石油、机械、电力、电机、风机、铁路等行业,本公司销售的 HRB轴承 011.30.710 转盘轴承价格合理,保证质量,全方面的服务,尽一切满足客户的需求。